一、概述
CH-K95开关柜智能操控装置,功能强大,用于3-35KV 户内开关柜,取代现有的一次回路模拟图、温湿度控制器,高压带电闭锁装置,全功能语音防误提示和告警,配有合闸,分闸按钮,储能按钮,远方/就地转换开关,照明开关。高亮度LED显示器,可在线显示当前温度,湿度值。可选RS485通信接口,适用于中置柜、手车柜、固定柜、环网柜等多种开关柜。同时本装置外观精致,美观、简化、美化了开关柜面板,有效的提升开关柜品质。
二、技术指标
工作电源 AC180V~AC265V
工作温度:-20~+65℃
工作湿度:≤95%RH
介质强度:≥AC2000V
绝缘性能:≥100MΩ
抗电磁干扰性能:符合IEC255-22的标准规定
动态闪烁频率:1次/秒
测量温度:-20~+80℃
开关量输入端子和LED数码显示关联关系:动态配置
三、主要功能

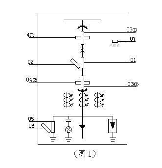
1,断路器状态显示
断路器合闸并且分闸回路完好时,红色01模拟条发光;
断路器分闸并且合闸回路完好时,绿色02模拟条发光;
2,手车位置显示
无源触点输入, 工作位置触点闭合时,红色03①、03②垂直模拟条发光,显示断路器位于工作位置。试验位置触点闭合时,绿色04①、04②水平模拟条发光,显示断路器位于试验位置。手车位于试验位置与工作位置之间时,发光条03①、03②、和04①、04②同时闪烁。手车移出开关柜时,红色03①、03②和绿色04①、04②发光条均不发光,表示手车已断电。
3,接地开关位置显示
无源接点输入闭合,红色05 垂直模拟条发光,显示接地开关合闸。无源接点输入断开,绿色06 水平模拟条发光,显示接地开关分闸。
4,弹簧储能显示
无源触点闭合,黄色07 指示发光,显示断路器已储能。
5,带电显示及闭锁功能
1、LED启辉电压(KV):额定相电压×0.15-0.65
2、闭锁启控电压(KV):额定相电压 ×0.65
3、当三相同时不带电时,闭锁解除灯亮,启动电磁锁动作。
6,自动加热除湿控制
可带1-2路温湿度传感器及输出接点,并且用户可根据需要在出厂时设定加热/除湿/排风输出的上下限。当环境湿度大于上限值或其温度大于下限值时,启动加热,湿度小于下限值或温度大于上限值时,停止加热;当环境温度≥45℃时,无条件停止加热,防止过热损伤;过热指示等亮。
7,智能语音防误提示功能
1、当断路器合闸状态,误将小车从试验位置推至工作位置时,语音提示“请分断路器”。
2、接地开关合闸状态,误将小车从试验位置推至工作位置时,语音提示“请分接地开关”。
3、断路器合闸状态、接地开关合闸状态,误将小车从试验位置推至工作位置时,语音提示“请分断路器、请分接地开关”。
4、当柜体主回路送电时,语音提示“本柜主回路已带电”。
8,分合闸功能
装置面板上设有分闸/合闸转换开关(或按钮)、远方/就地转换开关、储能开关等操作开关,方便用户操作。
9,温湿度显示
9.1(A路)

9.2(B路)

10,通讯功能(可选配)
四、安装方式

五、电气接线图

|